210 points de vente, + de 45 000 références
Fournitures Industrielles, Quincaillerie et Outillage destinés aux Professionnels
Des multi-spécialistes au service des entrepreneurs

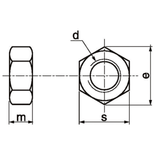
Ecrou hexagonal hu

1 produit(s) trié(s) par
ECROU HEXAGONAL HU